解决TMDb刮削失败无法识别影片

内容简介

装好EMBY后,发现用TMDb刮削不到图片,而豆瓣插件只能用于影片,无法检测tv剧集。后来发现原来TMDb的Api接口被GFW墙了,但TMDb的官网是可以正常连接的。本文将解决TMDb 刮削失败 无法识别影片支持EMBY、PLEX、KODI。

解决步骤

多地ping检测可用ip

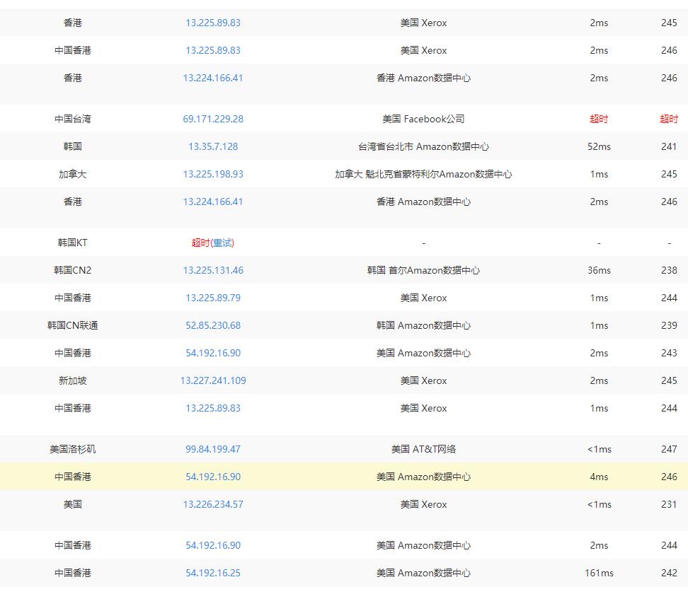
既然知道了原因就好办了,上站长之家多地ping一下TMDb的接口网址。

点击进入站长之家 ,输入TMDB API接口地址

1
2
api.themoviedb.org
image.tmdb.org
1
2
3
4
5
6
7
8
9
#Emby破解和刮削相关域名
mb3admin.com #负责激活服务端与客户端
www.mb3admin.com #插件服务器加速(仅服务端)
embydata.com #Emby下载服务器加速(仅服务端)
api.themoviedb.org #加速TMDB的刮削(仅服务端)
image.tmdb.org #加速TMDB的图片获取(仅服务端)
assets.fanart.tv #加速FanArt资源(仅服务端)
webservice.fanart.tv #加速FanArt刮削(仅服务端)
api.opensubtitles.org #加速OpenSubtitles获取(仅服务端)

可以看到国内一片红,我们需要的是海外ping的连接ip信息。

ip信息
详情

本地ping检测

以win10为例,用CMD测试上述海外ip地址是否能ping通,挑个连接比较快的。

我这里使用13.225.103.110,各位可尝试别的。

替换hosts或重定向

直接修改路由器就不用每台电脑或者nas里设置了。

以老毛子路由器为例,

方法一

1
依次打开 高级设置 - 内部网络(LAN) -DHCP服务器 - 高级设置 - 自定义配置文件“hosts”

按格式加插一行,然后应用本页面设置。

1
13.225.103.110 api.themoviedb.org

方法二

由于我开了Adguard home去广告软件,其实在这里面设置也很方便。

1
依次打开 过滤器- 自定义过滤规则 - 加上  13.225.103.110 api.themoviedb.org  - 应用
域名重写

检测刮削情况

回到EMBY刷新元数据,或者点开某部片点击识别,刮削正常,能识别影片和下载图片。

刮削正常